Repairing Welded Parts 焊接零件修理
NOTE: Refer to applicable manual for unit for specialized welding.
注:特殊焊接操作请参阅设备适用手册。
Method No. 411A:铝合金零件熔焊修理
WARNING: USE THE CORRECT PERSONAL PROTECTION. PROCEDURES THAT NEED GRIND/MACHINE WORK WILL CAUSE LOOSE PARTICLES THAT CAN GET IN YOUR EYES.
警告:必须使用正确防护装备。涉及磨削/机械加工的工序会产生松散颗粒,可能进入眼睛。
(1) Machine or hand abrade part to remove damage.
通过机械或手工打磨清除损伤零件。
NOTE: For removal of cracks, prepare crack to “V” shape routing. For removal of cracks on sheet metal, stop drill cracks to prevent further progression of the damage.
注:清除裂纹时,需将裂纹修整为“V”形槽。处理薄板金属裂纹时,需停止钻孔以防止损伤扩大。
(2) Hand abrade surface to be repaired, to prepare for welding.
手工打磨待修理表面,为焊接做准备。
(3) Clean surface to be repaired. Refer to SECTION II – CLEANING.
清洁待修理表面。参见SECTION II – CLEANING。
WARNING: USE THE CORRECT PERSONAL PROTECTION. HEATED PARTS WILL CAUSE BURNS.
警告: 必须使用正确的个人防护装备。高温零件会导致灼伤。
(4) If required, pre-heat the part. Refer to applicable manual.
如需预热零件,请参照适用手册操作。
WARNING: USE THE CORRECT PERSONAL PROTECTION. WELDING / CUTTING / BRAZING / SOLDERING / OPERATIONS CAUSE HEAT, METAL FUMES, SLAG, RADIATION AND LOOSE PARTICLES.
警告:必须使用正确的个人防护装备。焊接/切割/钎焊/软焊操作会产生高温、金属烟雾、焊渣、辐射及松散颗粒。
CAUTION: REFER TO APPLICABLE MANUAL FOR REQUIRED COOLING PROCEDURES AFTER WELDING.
注意:焊接后需参照适用手册执行冷却程序。
(5) GTAW weld the surface to be repaired. Refer to AWS D17.1. Use filler metal specified in applicable manual.
对待修理的表面进行钨极惰性气体保护焊(GTAW)。参照AWS D17.1标准,使用手册指定的填充金属。
WARNING: USE THE CORRECT PERSONAL PROTECTION. HEATED PARTS WILL CAUSE BURNS.
警告:必须使用正确的个人防护装备。高温零件会导致灼伤。
(6) If required, heat treat the part. Refer to applicable manual.
如需进行热处理,请参照适用手册操作。
WARNING: USE THE CORRECT PERSONAL PROTECTION. PROCEDURES THAT NEED GRIND/MACHINE WORK WILL CAUSE LOOSE PARTICLES THAT CAN GET IN YOUR EYES.
警告:必须使用正确的个人防护装备。需要打磨/机械加工的工序会产生松散颗粒,可能进入眼睛。
(7) Finish machine repaired surfaces.
对修理表面进行精加工。
NOTE: Finish machining is required if controlled surfaces were repaired only.
注:若仅修理受控表面,则必须进行精加工。
(8) Hand finish repaired surfaces.
对修理表面进行手工精整。
NOTE: Hand finishing is required if non controlled surfaces were repaired only.
注:若仅修理非受控表面,则必须进行手工精整。
WARNING: USE THE CORRECT PERSONAL PROTECTION. PROCEDURES THAT NEED GRIND/MACHINE WORK WILL CAUSE LOOSE PARTICLES THAT CAN GET IN YOUR EYES.
警告:必须使用正确的个人防护装备。需要进行研磨/机械加工的工序会产生松散颗粒,可能进入眼睛。
(9) If weld material extends into mounting holes or outside radius, machine to clean up.Refer to applicable manual for requirements.
若焊料延伸至安装孔或外圆弧区域,需机械加工进行清理。具体要求请参阅适用手册。
(10) Clean welded surface. Refer to SECTION II – CLEANING.
清洁焊接表面。请参阅SECTION II – CLEANING。
WARNING: USE THE CORRECT PERSONAL PROTECTION. OIL USED DURING THIS INSPECTION CAN CAUSE SKIN, EYE AND LUNG DAMAGE. THE HOT BLACK LIGHT WILL CAUSE BURNS TO BODY AREAS WITH NO PROTECTION.
警告:必须使用正确的个人防护装备。本检测过程中使用的油剂可能导致皮肤、眼睛及肺部损伤。高温黑光会灼伤未防护的身体部位。
(11) Perform penetrant inspection. Refer to ASTM E1417, Type 1, Method A, C, or D Level 3 or 4. No cracks permitted. Acid etch only when required.
执行渗透检测。参照ASTM E1417标准,类型1,方法A、C或D,3级或4级。严禁存在裂纹。仅在必要时进行酸蚀。
(12) Clean part. Refer to SECTION II – CLEANING.
清洁零件。参照SECTION II – CLEANING。
(13) Touch up bare metal. Refer to MIL-DTL-5541. Refer to Method No. 402E.
修补裸露金属。参照MIL-DTL-5541标准。参照Method No. 402E。
Method No. 411B: 镁合金零件熔焊修理
WARNING: USE THE CORRECT PERSONAL PROTECTION. PROCEDURES THAT NEED GRIND/MACHINE WORK WILL CAUSE LOOSE PARTICLES THAT CAN GET IN YOUR EYES.
警告:必须使用正确防护装备。涉及磨削/机械加工的工序会产生松散颗粒,可能进入眼睛。
(1) Machine or hand abrade part to remove damage.
通过机械或手工打磨去除损伤零件。
NOTE: For removal of cracks, prepare crack to “V” shape routing. For removal of cracks on sheet metal, stop drill cracks to prevent further progression of the damage.
注:清除裂纹时,需将裂纹修整为“V”形槽。处理薄板金属裂纹时,需停止钻孔以阻止损伤扩散。
(2) Hand abrade surface to be repaired, to prepare for welding.
手工打磨待修理表面,为焊接做准备。
(3) Clean surface to be repaired. Refer SECTION II – CLEANING.
清洁待修理表面。参见SECTION II – CLEANING。
WARNING: USE THE CORRECT PERSONAL PROTECTION. HEATED PARTS WILL CAUSE BURNS.
警告:必须使用正确的个人防护装备。高温零件会导致灼伤。
(4) If required, pre-heat the part. Refer to applicable manual.
如需预热零件,请参照适用手册操作。
WARNING: USE THE CORRECT PERSONAL PROTECTION. WELDING / CUTTING / BRAZING / SOLDERING / OPERATIONS CAUSE HEAT, METAL FUMES, SLAG, RADIATION, AND LOOSE PARTICLES.
警告:必须使用正确的个人防护装备。焊接/切割/钎焊/软焊操作会产生高温、金属烟雾、焊渣、辐射及松散颗粒。
CAUTION: REFER TO APPLICABLE MANUAL FOR REQUIRED COOLING PROCEDURES AFTER WELDING.
注意:焊接后冷却程序请参照适用手册。
(5) GTAW weld the surface to be repaired, refer to AWS D17.1. Use filler metal specified in applicable manual.
对待修理的表面进行钨极惰性气体保护焊(GTAW),参照AWS D17.1标准。使用适用手册中指定的填充金属。
WARNING: USE THE CORRECT PERSONAL PROTECTION. HEATED PARTS WILL CAUSE BURNS.
警告:必须使用正确的个人防护装备。高温零件会导致灼伤。
(6) If required, heat treat the part. Refer to applicable manual.
如需进行热处理,请参照适用手册操作。
WARNING: USE THE CORRECT PERSONAL PROTECTION. PROCEDURES THAT NEED GRIND/MACHINE WORK WILL CAUSE LOOSE PARTICLES THAT CAN GET IN YOUR EYES.
警告:必须使用正确的个人防护装备。需要打磨/机械加工的工序会产生松散颗粒,可能进入眼睛。
(7) Finish machine repaired surfaces.
对修理表面进行精加工。
NOTE: Finish machining is required if controlled surfaces were repaired only.
注:若仅修理受控表面,则必须进行精加工。
(8) Hand finish repaired surfaces.
对修理表面进行手工精整。
NOTE: Hand finishing is required if non controlled surfaces were repaired only.
注:若仅修理非受控表面,则必须进行手工精整。
WARNING: USE THE CORRECT PERSONAL PROTECTION. PROCEDURES THAT NEED GRIND/MACHINE WORK WILL CAUSE LOOSE PARTICLES THAT CAN GET IN YOUR EYES.
警告:必须使用正确的个人防护装备。需要进行研磨/机械加工的工序会产生松散颗粒,可能进入眼睛。
(9) If weld material extends into mounting holes or outside radius, machine clean up. Refer to applicable manual for requirements.
若焊料延伸至安装孔或外圆弧区域,需机械加工进行清理。具体要求参见适用手册。
(10) Clean welded surface. Refer to SECTION II – CLEANING.
清洁焊接表面。参见SECTION II – CLEANING。
WARNING: USE THE CORRECT PERSONAL PROTECTION. OIL USED DURING THIS INSPECTION CAN CAUSE SKIN, EYE, AND LUNG DAMAGE. THE HOT BLACK LIGHT WILL CAUSE BURNS TO BODY AREAS WITH NO PROTECTION.
警告:必须使用正确的个人防护装备。本检测过程中使用的油剂可能导致皮肤、眼睛和肺部损伤。高温黑光会灼伤未防护的身体部位。
(11) Perform penetrant inspection. Refer to ASTM E1417, Type 1, Method A, C or D Level 3 or 4. No cracks permitted. Acid etch only when required.
执行渗透检测。参照ASTM E1417标准,类型1,方法A、C或D,等级3或4。严禁存在裂纹。仅在必要时进行酸蚀。
(12) Clean part. Refer to SECTION II – CLEANING.
清洁零件。参见SECTION II – CLEANING。
(13) Touch-up bare metal with magnesium touch-up solution. Refer to Method No. 402H or 402J.
使用镁金属修补溶液修补裸露金属。参照Method No.402H或402J。
Method No. 411C:耐腐蚀钢、钴及镍基合金零件熔焊修理
WARNING: USE THE CORRECT PERSONAL PROTECTION. PROCEDURES THAT NEED GRIND/MACHINE WORK WILL CAUSE LOOSE PARTICLES THAT CAN GET IN YOUR EYES.
警告:必须使用正确防护装备。涉及磨削/机械加工的工序会产生松散颗粒,可能进入眼睛。
(1) Machine or hand abrade part to remove damage.
通过机械或手工打磨去除损伤零件。
NOTE: For removal of cracks, prepare crack to “V” shape routing. For removal of cracks on sheet metal, stop drill cracks to prevent further progression of the damage.
注:清除裂纹时,需将裂纹修整为“V”形槽。处理薄板金属裂纹时,需停止钻孔以阻止损伤扩展。
(2) Hand abrade surface to be repaired, to prepare for welding.
手工打磨待修理表面,为焊接做准备。
(3) Clean surface to be repaired. Refer to SECTION II – CLEANING.
清洁待修理表面。参见SECTION II – CLEANING。
WARNING: USE THE CORRECT PERSONAL PROTECTION. HEATED PARTS WILL CAUSE BURNS.
警告:请使用正确的个人防护装备。高温零件会导致灼伤。
(4) If required, pre-heat the part. Refer to applicable manual.
如需预热零件,请参照适用手册操作。
WARNING: USE THE CORRECT PERSONAL PROTECTION. WELDING / CUTTING / BRAZING / SOLDERING / OPERATIONS CAUSE HEAT, METAL FUMES, SLAG, RADIATION, AND LOOSE PARTICLES.
警告:必须使用正确的个人防护装备。焊接/切割/钎焊/软焊操作会产生高温、金属烟雾、焊渣、辐射及松散颗粒。
CAUTION: REFER TO APPLICABLE MANUAL FOR REQUIRED COOLING PROCEDURES AFTER WELDING.
注意:焊接后冷却程序请参照适用手册。
(5) GTAW weld the surface to be repaired. Refer to AWS D17.1. Use filler metal specified in applicable manual.
对待修理的表面进行钨极惰性气体保护焊(GTAW)。参照AWS D17.1标准,使用适用手册指定的填充金属。
WARNING: USE THE CORRECT PERSONAL PROTECTION. HEATED PARTS WILL CAUSE BURNS.
警告:必须使用正确的个人防护装备。高温部件会导致灼伤。
(6) If required, heat treat the part. Refer to applicable manual.
如需进行热处理,请参照适用手册操作。
WARNING: USE THE CORRECT PERSONAL PROTECTION. PROCEDURES THAT NEED GRIND/MACHINE WORK WILL CAUSE LOOSE PARTICLES THAT CAN GET IN YOUR EYES.
警告:必须使用正确的个人防护装备。需要打磨/机械加工的工序会产生松散颗粒,可能进入眼睛。
(7) Finish machine repaired surfaces.
对修理表面进行精加工。
NOTE: Finish machining is required if controlled surfaces were repaired only.
注:若仅修理受控表面,则必须进行精加工。
(8) Hand finish repaired surfaces.
对修理表面进行手工精修。
NOTE: Hand finishing is required if non controlled surfaces were repaired only.
注:若仅修理非受控表面,则必须进行手工精修。
WARNING: USE THE CORRECT PERSONAL PROTECTION. PROCEDURES THAT NEED GRIND/MACHINE WORK WILL CAUSE LOOSE PARTICLES THAT CAN GET IN YOUR EYES.
警告:必须使用正确的个人防护装备。需要进行研磨/机械加工的工序会产生松散颗粒,可能进入眼睛。
(9) If weld material extends into mounting holes or outside radius, machine clean up. Refer to applicable manual for requirements.
若焊料延伸至安装孔或外圆弧区域,需机械加工进行清理。具体要求参见适用手册。
(10) Clean welded surface. Refer to SECTION – CLEANING.
清洁焊接表面。参见SECTION – CLEANING。
WARNING: USE THE CORRECT PERSONAL PROTECTION. OIL USED DURING THIS INSPECTION CAN CAUSE SKIN, EYE AND LUNG DAMAGE. THE HOT BLACK LIGHT WILL CAUSE BURNS TO BODY AREAS WITH NO PROTECTION.
警告:必须使用正确的个人防护装备。本检查过程中使用的油剂可能导致皮肤、眼睛及肺部损伤。高温黑光会灼伤未防护的身体部位。
(11) Perform penetrant inspection. Refer to ASTM E1417, Type 1, Method A, C or D Level 3 or 4. No cracks permitted. Acid etch only when required.
执行渗透检测。参照ASTM E1417标准,类型1,方法A、C或D,3级或4级。严禁存在裂纹。仅在必要时进行酸蚀处理。
(12) Clean part. Refer to SECTION II – CLEANING.
清洁零件。参见SECTION II – CLEANING。
Method No. 411D: 电阻焊修理
WARNING: USE THE CORRECT PERSONAL PROTECTION. PROCEDURES THAT NEED GRIND/MACHINE WORK WILL CAUSE LOOSE PARTICLES THAT CAN GET IN YOUR EYES.
警告:必须使用正确的个人防护装备。涉及磨削/机械加工的工序会产生松散颗粒,可能进入眼睛。
(1) Hand abrade part to remove damage.
手工打磨零件以清除损伤。
NOTE: Drill or mill resistance weld to get the separation of the sheet metals.
注:需钻孔或铣削电阻焊缝以分离板材。
(2) Hand abrade surfaces to be repaired, to prepare for welding.
手工打磨待修理表面,为焊接做准备。
CAUTION: DO NOT USE ALUMINUM OXIDE OR STEEL GRIT OR SHOT TO CLEAN THE PART. SURFACES TO BE WELDED COULD BE DAMAGED.
注意:严禁使用氧化铝砂、钢砂或钢丸清洁零件,否则可能损伤焊接面。
(3) Clean surface to be repaired. Refer to SECTION II – CLEANING.
清洁待修理表面。参见SECTION II – CLEANING。
NOTE: Chemical cleaning processes used must not result in intergranular attack or oxidation, or alloy depletion in the parent metal of 0.001 inch (0.03 mm) maximum depth to prevent weld failure.
注:化学清洁工艺不得导致母材发生晶间腐蚀、氧化或合金元素流失,且深度不得超过0.001英寸(0.03毫米),以防止焊缝失效。
WARNING: USE THE CORRECT PERSONAL PROTECTION. HEATED PARTS WILL CAUSE BURNS.
警告:必须使用正确防护装备。高温零件会导致灼伤。
(4) If required, pre-heat the part. Refer to applicable manual.
如需预热零件,请参照适用手册。
WARNING: USE THE CORRECT PERSONAL PROTECTION. WELDING / CUTTING / BRAZING / SOLDERING / OPERATIONS CAUSE HEAT, METAL FUMES, SLAG, RADIATION, AND LOOSE PARTICLES.
警告:必须使用正确的个人防护装备。焊接/切割/钎焊/软焊操作会产生高温、金属烟雾、焊渣、辐射及松散颗粒。
CAUTION: REFER TO APPLICABLE MANUAL FOR REQUIRED COOLING PROCEDURES AFTER WELDING.
注意:焊接后冷却程序请参照适用手册。
(5) Resistance weld the surfaces to be repaired. Refer to AWS D17.2. Use parameters specified in applicable manual. Refer to Table 404.
对待修理表面进行电阻焊。参照AWS D17.2标准,采用手册规定参数。详见表404。
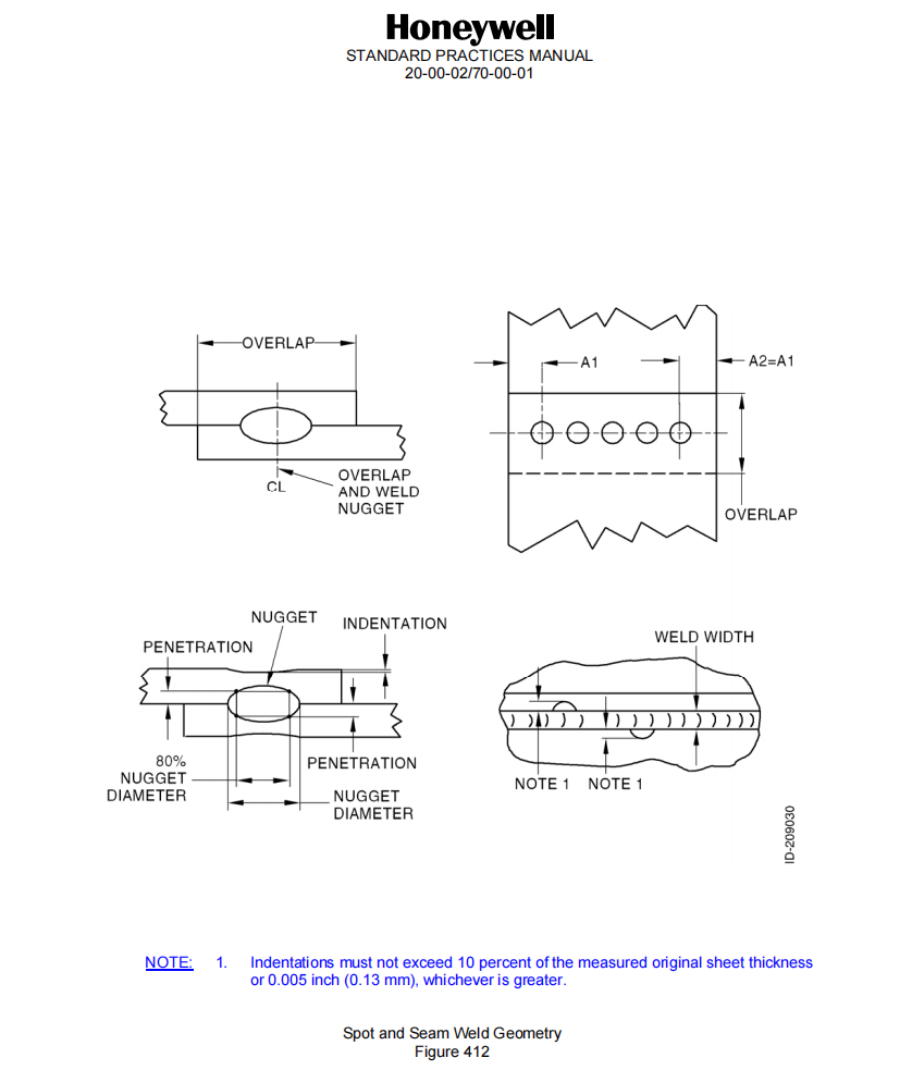
(a) The centerline for spot or seam welds must be the centerline of the contacting overlap. Refer to Figure 412.
点焊或缝焊中心线必须与接触搭接中心线重合。参照图412。
NOTE: Displacement with respect to the centerline must not be more than one half of the spot diameter, seam width or 0.10 inches (2.5 mm), whichever is greater.
注: 相对于中心线的位移不得超过点焊直径、缝焊宽度的一半或0.10英寸(2.5毫米),以较大者为准。
(b) Minimum weld penetration into all sheets must not be less than 20 percent of the measured original thickness of the thinner outer sheet, over an area whose major axis is 80 percent of the weld diameter or width at the interface. Refer to Figure 412.
所有板材的最小焊透深度不得低于较薄外板原始测定厚度的20%,该区域长轴应为焊缝直径或结合面宽度的80%。参见图412。
![图片[1]-SECTION IV – REPAIR 11-焊接零件修理-航修札记](https://www.aeroacm.com/wp-content/uploads/2025/11/20251107231558129-image.png)
(c) Maximum penetration into outer sheet must not be greater than 80 percent of its reduced thickness for aluminum and magnesium alloys, and 90 percent of its reduced thickness for all other alloys. Refer to Figure 412.
铝合金与镁合金外板的最大穿透深度不得超过其减薄厚度的80%,其他合金不得超过90%。参见图412。
WARNING: USE THE CORRECT PERSONAL PROTECTION. HEATED PARTS WILL CAUSE BURNS.
警告:必须使用正确的个人防护装备。高温零件会导致灼伤。
(6) If required, heat treat the part. Refer to applicable manual.
如需进行热处理,请参照适用手册操作。
(7) Hand finish repaired surfaces.
手工修整修理表面。
NOTE: Hand finishing is required if non controlled surfaces were repaired only.
注:仅修理非受控表面时需进行手工修整。
WARNING: USE THE CORRECT PERSONAL PROTECTION. PROCEDURES THAT NEED GRIND/MACHINE WORK WILL CAUSE LOOSE PARTICLES THAT CAN GET IN YOUR EYES.
警告:必须使用正确的个人防护装备。涉及磨削/机械加工的工序会产生松散颗粒,可能进入眼睛。
(8) If weld material extends into mounting holes or outside radius, machine clean up. Refer to applicable manual for requirements.
若焊料延伸至安装孔或外圆弧区域,需机械加工进行清理。具体要求参见适用手册。
(9) Clean welded surface. Refer to SECTION II – CLEANING.
清洁焊接表面。参见SECTION II – CLEANING。
WARNING: USE THE CORRECT PERSONAL PROTECTION. OIL USED DURING THIS INSPECTION CAN CAUSE SKIN, EYE AND LUNG DAMAGE. THE HOT BLACK LIGHT WILL CAUSE BURNS TO BODY AREAS WITH NO PROTECTION.
警告:必须使用正确的个人防护装备。本检测过程中使用的油剂可能导致皮肤、眼睛和肺部损伤。高温黑光会灼伤未防护的身体部位。
(10) Perform penetrant inspection. Refer to ASTM E1417, Type 1, Method A, C or D Level 3 or 4. No cracks permitted. Acid etch only when required.
执行渗透检测。参照ASTM E1417标准,类型1,方法A、C或D,3级或4级。严禁存在裂纹。仅在必要时进行酸蚀处理。
(11) Clean part. Refer to SECTION II – CLEANING.
清洁零件。参照SECTION II – CLEANING。
![图片[2]-SECTION IV – REPAIR 11-焊接零件修理-航修札记](https://www.aeroacm.com/wp-content/uploads/2025/11/20251107231726742-image.png)
![图片[3]-SECTION IV – REPAIR 11-焊接零件修理-航修札记](https://www.aeroacm.com/wp-content/uploads/2025/11/20251107231732387-image.png)










暂无评论内容