高度游标卡尺是一种结合了游标卡尺和高度尺功能的测量工具,它主要用于测量工件的高度、深度以及台阶的高度等,尤其适用于测量那些常规直尺或卡尺难以触及的部位。
01 高度游标卡尺结构原理
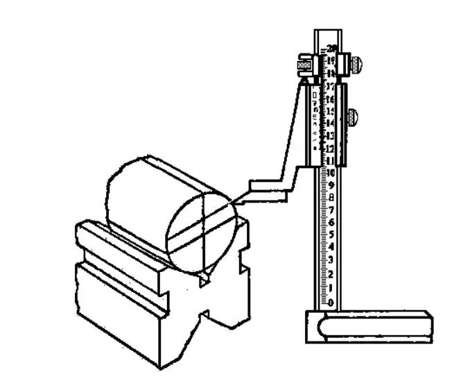
高度游标卡尺如下图所示,它的结构特点是用质量较大的基座 4 代替固定量爪 5,而动的尺框 3 则通过横臂装有测量高度和划线用的量爪,量爪的测量面上镶有硬质合金,提高量爪使用寿命。

高度游标卡尺的测量工作,应在平台上进行。当量爪的测量面与基座的底平面位于同一平面时,如在同一平台平面上,主尺 1 与游标 6 的零线相互对准。所以在测量高度时,量爪测量面的高度,就是被测量零件的高度尺寸。
高度游标卡尺划线时,调好划线高度,用紧固螺钉 2 把尺框锁紧后,也应在平台上进行先调整再进行划线。
02 高度尺的种类
目前常见的游标高度卡尺有以下三种:
1.标准游标高度尺

标准游标高度尺
2.带表高度尺

带表高度尺
3.数显高度尺

数显高度尺
03 高度尺的用法

划线

划线

用划线器高度测量

带杠杆表高度测量
04 高度游标卡尺在使用前注意事项
1.安装划线器到主尺基准端面的距离应尽可能短,锁紧牢靠; 如果是百分表,还应检查百分表的测头是否松动。
2.清洁检测平台基准端面、高度尺底座基准面、划线器安装面、工件基准面、被测量面。
3.全行程移动尺框,确认动作状态是否顺畅,有无卡滞现象;
4.下移划线器测量面轻轻接触平板或工作台,确认零点是否对齐。
注:使用前确认0点基准非常重要,每次使用前都要确认。

带杠杆百分表高度尺零点确认方法

※带杠杆百分表的游标高度尺因安装支架原因可能无法使高度尺对“0”,这时记录好尺身上的数值,作为检测基准,检测完工件后,用检测工件的高度值减去之前的基准值,就是工件的实测值。
带百分表数显高度尺零点确认方法

百分表作为测头时对“0”
5.如需移动高度尺时,一只手轻轻护在尺框旁边,另一只手手持底座,防止尺身与基座变形或掉落。

05 高度游标卡尺在使用中注意事项
1.读取刻度时,请将视线对准正面,注意视差。

※数显高度尺可忽略,直接读取数值。
2.划线器高度尺测量时,需使用适当的力量检查。
3.请不要在测量面倾斜的状态下测量,这样会导致测量不准确。
4. 标准游标高度卡尺的读数(同游标卡尺)
标准游标高度卡尺

标准游标高度卡尺读法:
主标尺对齐刻度读数+游标尺对齐刻度读数
数显卡尺读法:直接读取数显数值。
测量示例(数显高度尺):
第一步:确认零点(基准)

确认0点基准
第二步:测量

测量
※加装杠杆表、百分表作为测头测量时,推动高度尺基座时应缓慢轻轻用力,特别测头接触工件时,移动过快可能会撞坏杠杆表、百分表表头。
06 使用后注意事项
1.使用后,确认各部位有无损伤并将整体清洁干净。在附着有水溶性切削油等场所使用时,清洁后,请务必进行防锈处理。
2.保管时,使划线器距离面板表面1mm左右,不要接触上,不要拧紧滑块夹钳。
3.不使用时注意高度尺不要放到平台边缘,防止意外触碰跌落。
4.长期不使用,用适当润滑油将尺身进行防锈处理后,放入专用的盒子里,尽量避免长期存放在在高温高湿、多尘埃及多油污的场所。
来源:
📌 原文链接:https://mp.weixin.qq.com/…









暂无评论内容