飞机维修工程管理-维修系统
一、维修机构设置要求 为落实适航性责任,确保飞机安全运行,CCAR 121.365合格证持有人的维修系统对航空营运人的维修系统做了概括性要求:任何合格证持有人应当建立一个由维修副总经理负责组织...
深度尺的读数及使用方法
深度游标尺是一种专用于测量凹槽、孔洞、盲孔深度以及阶梯形工件等内部尺寸的测量工具。 01 深度尺的结构原理 深度游标尺结构如下图所示,,它的结构特点是尺框3的两个量爪连成一起成为一...
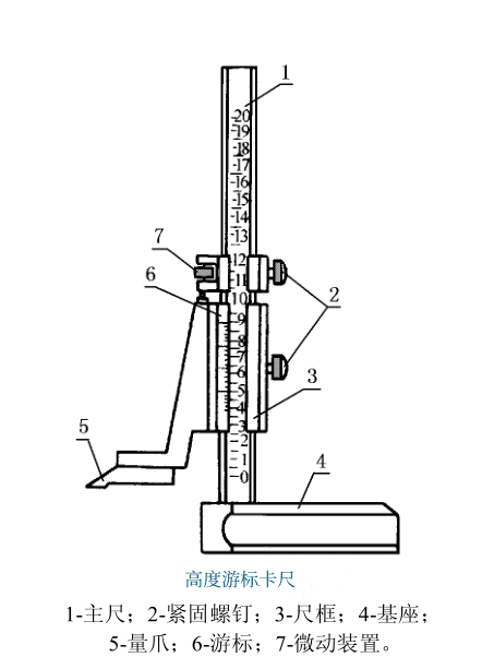
高度游标卡尺读数及使用方法
高度游标卡尺是一种结合了游标卡尺和高度尺功能的测量工具,它主要用于测量工件的高度、深度以及台阶的高度等,尤其适用于测量那些常规直尺或卡尺难以触及的部位。 01 高度游标卡尺结构原理 ...
SECTION IV – REPAIR 3. 防护涂料及电镀的修复与应用-I.Method No. 403I:化学镀镍
3. Repair and Application of Protective Coatings and Plating 防护涂料及电镀的修复与应用I.Method No. 403I: Electroless Nickel PlatingMethod No. 403I:化学镀镍CAUTION: BECAUSE OF MASK...
SECTION IV – REPAIR 修理(三)-I.Method No. 403I: Electroless Nickel Plating
3. Repair and Application of Protective Coatings and Plating 防护涂料及电镀的修复与应用I.Method No. 403I: Electroless Nickel PlatingMethod No. 403I:化学镀镍CAUTION: BECAUSE OF MASK...
SECTION IV – REPAIR 3. 防护涂料及电镀的修复与应用-H.Method No. 403H:镀银修复
3. Repair and Application of Protective Coatings and Plating 防护涂料及电镀的修复与应用H.Method No. 403H: Silver Plating RepairMethod No. 403H:镀银修复NOTE: If the type of silver p...
SECTION IV – REPAIR 修理(三)-H.Method No. 403H: Silver Plating Repair
3. Repair and Application of Protective Coatings and Plating 防护涂料及电镀的修复与应用H.Method No. 403H: Silver Plating RepairMethod No. 403H:镀银修复NOTE: If the type of silver p...
SECTION IV – REPAIR 3. 防护涂料及电镀的修复与应用-G.Method No. 403G:耐磨涂层表面磨损修复
3. Repair and Application of Protective Coatings and Plating 防护涂料及电镀的修复与应用G.Method No. 403G: Abradable Coating Surface Wear RepairMethod No. 403G:耐磨涂层表面磨损修复N...
SECTION IV – REPAIR 修理(三)-G.Method No. 403G: Abradable Coating Surface Wear Repair
3. Repair and Application of Protective Coatings and Plating 防护涂料及电镀的修复与应用G.Method No. 403G: Abradable Coating Surface Wear RepairMethod No. 403G:耐磨涂层表面磨损修复N...
SECTION IV – REPAIR 3. 防护涂料及电镀的修复与应用-F.Method No. 403F:等离子喷涂修复
3. Repair and Application of Protective Coatings and Plating 防护涂料及电镀的修复与应用F.Method No. 403F: Plasma Spray RepairMethod No. 403F:等离子喷涂修复NOTE: Electric Arc Metal...
SECTION IV – REPAIR 修理(三)-F.Method No. 403F: Plasma Spray Repair
3. Repair and Application of Protective Coatings and Plating 防护涂料及电镀的修复与应用F.Method No. 403F: Plasma Spray RepairMethod No. 403F:等离子喷涂修复NOTE: Electric Arc Metal...
SECTION IV – REPAIR 3. 防护涂料及电镀的修复与应用-E.Method No. 403E:干膜润滑剂修复
3. Repair and Application of Protective Coatings and Plating 防护涂料及电镀的修复与应用E.Method No. 403E: Dry-film Lubricant RepairMethod No. 403E:干膜润滑剂修复Dry-film lubricant...
SECTION IV – REPAIR 修理(三)-E.Method No. 403E: Dry-film Lubricant Repair
3. Repair and Application of Protective Coatings and Plating 防护涂料及电镀的修复与应用E.Method No. 403E: Dry-film Lubricant RepairMethod No. 403E:干膜润滑剂修复Dry-film lubricant...
SECTION IV – REPAIR 3. 防护涂料及电镀的修复与应用-D.Method No.403D:金属喷涂修复
3. Repair and Application of Protective Coatings and Plating 防护涂料及电镀的修复与应用D.Method No. 403D: Metal Spray RepairMethod No.403D:金属喷涂修复NOTE: Electric Arc Spray and...
SECTION IV – REPAIR 修理(三)-D.Method No. 403D: Metal Spray Repair
3. Repair and Application of Protective Coatings and Plating 防护涂料及电镀的修复与应用D.Method No. 403D: Metal Spray RepairMethod No.403D:金属喷涂修复NOTE: Electric Arc Spray and...
SECTION IV – REPAIR 3. 防护涂料及电镀的修复与应用-C.Method No.403C:薄而致密的镀铬零件修复
3. Repair and Application of Protective Coatings and Plating 防护涂料及电镀的修复与应用C.Method No. 403C: Thin Dense Chrome Plated Parts RepairMethod No.403C:薄而致密的镀铬零件修...
SECTION IV – REPAIR 修理(三)-C.Method No. 403C: Thin Dense Chrome Plated Parts Repair
3. Repair and Application of Protective Coatings and Plating 防护涂料及电镀的修复与应用C.Method No. 403C: Thin Dense Chrome Plated Parts RepairMethod No.403C:薄而致密的镀铬零件修...
SECTION IV – REPAIR 3. 防护涂料及电镀的修复与应用-B.Method No. 403B: 硬铬镀件修复
3. Repair and Application of Protective Coatings and Plating 防护涂料及电镀的修复与应用B.Method No. 403B: Hard Chrome Plated Parts RepairMethod No. 403B: 硬铬镀件修复NOTE: Hard chr...
SECTION IV – REPAIR 修理(三)-B.Method No. 403B: Hard Chrome Plated Parts Repair
3. Repair and Application of Protective Coatings and Plating 防护涂料及电镀的修复与应用B.Method No. 403B: Hard Chrome Plated Parts Repair方法编号403B:硬铬镀件修复NOTE: Hard chrome...
SECTION IV – REPAIR 3. 防护涂料及电镀的修复与应用-A.Method No. 403A: 阳极氧化铝和铝合金修复
3. Repair and Application of Protective Coatings and Plating 防护涂料及电镀的修复与应用A.Method No. 403A: Anodized Aluminum and Aluminum-alloy RepairMethod No. 403A: 阳极氧化铝和铝...







